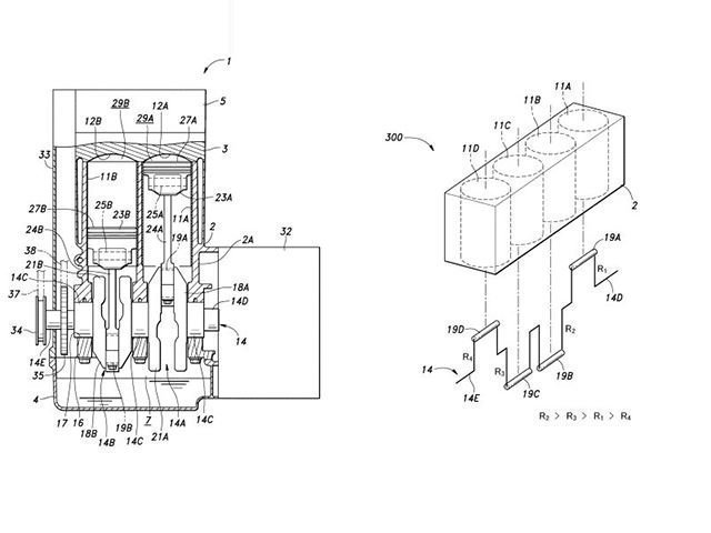
Японская компания Honda работает над новым двигателем с поршнями переменного хода. Разные по длине поршни, в сочетании с системой деактивации цилиндров, позволяют сделать принципиально новый силовой агрегат, мощность которого можно варьировать и который можно устанавливать на широкий спектр моделей.
Например, современный 2,0-литровый двигатель Honda может иметь только четыре версии и четыре варианта максимальной мощности. Новая технология позволит создать гораздо больше вариантов для 2-х, 3-х и 4-цилиндровых моторов, что позволит значительно сэкономить при разработках новых автомобилей и производстве двигателей.


Комментарии (0)